NEETS Module 15 - Principles of Synchros, Servos, and Gyros
Pages i,
1-1,
1-11,
1-21,
1-31,
1-41,
1-51,
1-61,
1-71,
2-1,
2-11,
2-21,
2-31,
3-1,
3-11,
3-21,
4-1, Index
voltage induced in one stator winding cannot be measured because the common connection between the stator coils is not physically accessible.
In summary, the synchro transmitter converts the angular position of its rotor into electrical stator signals, which are sent through interconnecting
wires to other synchro devices. Q-20. When is the maximum voltage induced into a stator coil? Q-21.
What three factors determine the amplitude of the voltage induced into a stator winding? SYNCHRO TORQUE RECEIVER
Synchro torque receivers, commonly called synchro receivers, are electrically identical to torque transmitters of the same size except for the
addition of some form of damping. In some sizes of 400-Hz synchros, units are designated as torque receivers but may be used as either transmitters
or receivers. Unlike the transmitter, the receiver has an electrical input to its stator and a mechanical output from its rotor.
The synchro receiver's function is to convert the electrical data supplied to its stator from the transmitter, back to a mechanical angular
position through the movement of its rotor. This function is accomplished when the rotor is connected to the same ac source as the transmitter
and assumes a position determined by the interaction of its magnetic field with the magnetic field of the stator. If you recall, this is the
same concept discussed earlier under the operation of electromagnets. Normally, the receiver rotor is unrestrained in movement
except for brush and bearing friction. When power is first applied to a system, the transmitter position changes quickly; or if the receiver
is switched into the system, the receiver rotor turns to correspond to the position of the transmitter rotor. This sudden motion can cause the
rotor to oscillate (swing back and forth) around the synchronous position If the movement of the rotor is great enough, it may even spin. Some
method of preventing oscillations or spinning must be used. Any method that accomplishes this task is termed DAMPING. There are
two types of damping methods ELECTRICAL and MECHANICAL. In small synchros the electrical method is used more frequently than the mechanical
method. This method uses an additional winding placed in the synchro to retard oscillations. In larger units, a mechanical device, known as
an inertia damper, is more effective. Several variations of the inertia damper are in use. One of the more common types consists of a heavy
brass flywheel (inertia damper), which is free to rotate around a bushing that is attached to the rotor shaft (fig. 1-15). a tension spring
on the bushing rubs against the flywheel so that the bushing and flywheel turn together during normal operation. If the rotor shaft turns or
tends to change its speed or direction of rotation suddenly, the inertia of the damper opposes the changing condition.
1-21

Figure 1-15. - Cutaway view of torque receiver with inertia damper.
Q-22. What is the physical difference between a synchro transmitter and a synchro receiver? Q-23. What
method is used to prevent oscillations in large synchro units?
TORQUE SYNCHRO System
A torque transmitter (TX) and a torque receiver (TR) make up a simple torque-synchro system. Basically, the electrical construction of synchro
transmitters and receivers is similar, but their intended functions are different. The rotor of a synchro transmitter is usually geared to a
manual or mechanical input. This gearing may drive a visual indicator showing the value or quantity being transmitted. The rotor of the receiver
synchronizes itself electrically with the position of the rotor of the transmitter and thus responds to the quantity being transmitted.
Basic SYNCHRO System Operation A simple synchro transmission system consisting of a torque transmitter connected
to a torque receiver (TX-TR) is illustrated in figure 1-16. As you can see, in this system the rotors are connected in parallel across the ac
line. The stators of both synchros have their leads connected S1 to S1, S2 to S2, and S3 to S3, so the voltage in each of the transmitter stator
coils opposes the voltage in the corresponding coils of the receiver. The voltage directions are indicated by arrows for the instant of time
shown by the dot on the ac line voltage.
1-22

Figure 1-16. - a simple synchro transmission system.
When both transmitter and receiver rotors in a synchro system are on zero or displaced from zero by the same angle, a condition known as
CORRESPONDENCE exists. In view a of figure 1-16, the transmitter and receiver are shown in correspondence. In this condition, the rotor of the
TR induces voltages in its stator coils (S2 = 52V; S1 and S3 = 26V) that are equal to and opposite the voltages induced into the TX stator coils
(S2 = 52V; S1 and S3 = 26V). This causes the voltages to cancel and reduces the stator currents to zero. With zero current through the coils,
the receiver torque is zero and the system remains in correspondence. The angle through which a transmitter rotor is mechanically
rotated is called a Signal. In view B of figure 1-16, the signal is 60º. Now, consider what happens to the two synchros in correspondence when
this signal is generated When the transmitter rotor is turned, the rotor field follows and the magnetic coupling between the rotor
and stator windings changes. This results in the transmitter S2 coil voltage decreasing to 26 volts, the S3 coil voltage reversing direction,
and the S1 coil voltage increasing to 52 volts. This imbalance in voltages, between the transmitter and receiver, causes current to flow in
the stator coils in the direction of the stronger voltages. The current flow in the receiver produces a resultant magnetic field in the receiver
stator in the same direction as the rotor field in the transmitter. a force (torque) is now exerted on the receiver rotor by the interaction
between its resultant stator field and the magnetic field around its rotor. This force causes the rotor to turn through the same angle as the
rotor of the transmitter. As the receiver
1-23
approaches correspondence, the stator voltages of the transmitter and receiver approach equality. This action decreases the stator currents
and produces a decreasing torque on the receiver. When the receiver and the transmitter are again in correspondence, as shown in view C, the
stator voltages between the two synchros are equal and opposite (S1 = 52V; S2 and S3 = 26V), the rotor torque is zero, and the rotors are displaced
from zero by the same angle (60º). This sequence of events causes the transmitter and receiver to stay in correspondence. In the
system we just explained, the receiver reproduced the signal from the transmitter. As you can see, a synchro system such as this could provide
a continuous, accurate, visual reproduction of important information to remote locations. Q-24. What two components
make up a simple synchro transmission system? Q-25. What leads in a simple synchro system are connected to the ac power
line? Q-26. What is the relationship between the transmitter and receiver stator voltages when their rotors are in
correspondence? Q-27. What is the name given to the angle through which a transmitters rotor is mechanically rotated?
Receiver Rotation When the teeth of two mechanical gears are meshed and a turning force is applied, the gears
turn in opposite directions. If a third gear is added, the original second gear turns in the same direction as the first. This is an important
concept, because the output of a synchro receiver is often connected to the device it operates through a train of mechanical gears. Whether
or not the direction of the force applied to the device and the direction in which the receiver rotor turns are the same depends on whether
the number of gears in the train is odd or even. The important thing, of course, is to move the dial or other device in the proper direction.
Even when there are no gears involved, the receiver rotor may turn in the direction opposite to the direction you desire. To correct this problem,
some method must be used to reverse the receiver's direction of rotation. In the transmitter-receiver system, this is done by reversing the
S1 and S3 connections so that SI of the transmitter is connected to S3 of the receiver and vice versa (fig. 1-17), view (A) and view (B).

Figure 1-17A. - Effect of reversing the S1 and S3 connections between the transmitter and the receiver.
1-24

Figure 1-17B. - Effect of reversing the S1 and S3 connections between the transmitter and the receiver.
Even when the S1 and S3 connections are reversed, the system at 0º acts the same as the basic synchro system we previously described at 0º.
This is because the voltages induced in the S1 and S3 stator windings are still equal and oppose each other. This causes a canceling effect,
which results in zero stator current and no torque. Without the torque required to move the receiver rotor, the system remains in correspondence
and the reversing of the stator connections has no noticeable effect on the system at 0º. Suppose the transmitter rotor is turned
counterclockwise 60º, as shown in view a of figure 1-17. The TX rotor is now aligned with S1. This results in maximum magnetic coupling between
the TX rotor and the S1 winding. This maximum coupling induces maximum voltage in S1. Because S1 is connected to S3 of the TR, a voltage imbalance
occurs between them. As a result of this voltage imbalance, maximum current flows through the S3 winding of the TR causing it to have the strongest
magnetic field. Because the other two fields around S2 and S1 decrease proportionately, the S3 field has the greatest effect on the resultant
TR stator field. The strong S3 stator field forces the rotor to turn 60º clockwise into alignment with itself, as shown in view B. At this point,
the rotor of the TR induces canceling voltages in its own stator coils and causes the rotor to stop. The system is now in correspondence. Notice
that by reversing S1 and S3, both synchro rotors turn the same amount, but in OPPOSITE DirectIONS. We must emphasize that the only
stator leads ever interchanged, for the purpose of reversing receiver rotation, are S1 and S3. S2 cannot be reversed with any other lead since
it represents the electrical zero position of the synchro. As you know, the stator leads in a synchro are 120º apart. Therefore, any change
in the S2 lead causes a 120º error in the synchro system and also reverses the direction of rotation. In new or modified synchro
systems, a common problem is the accidental reversal of the R1 and R2 leads on either the transmitter or receiver. This causes a 180º error
between the two synchros, but the direction of rotation remains the same. Q-28. What two receiver leads are reversed
to reverse the rotor's direction of rotation? Q-29. What is the most likely problem if the transmitter shaft reads
0º when the receiver shaft indicates 180º? TORQUE Differential SYNCHRO Systems The demands on a synchro
system are not always as simple as positioning an indicating device in response to information received from a single source (transmitter).
For example, an error detector used in checking weapons equipment uses a synchro system to determine the error in a gun's position with respect
to the positioning order. To do this, the synchro system must accept two signals, one containing the positioning order and the other corresponding
to the actual position of the gun. The system must then
1-25
compare the two signals and position an indicating dial to show the difference between them, which is the error. Obviously,
the simple synchro transmitter-receiver system discussed so far could not handle a job of this sort. a different type of synchro is needed,
one which can accept two signals simultaneously, add or subtract the signals, and furnish an output proportional to their sum or difference.
This is where the SYNCHRO Differential enters the picture. a differential can perform all of these functions. There are two types
of differential units - differential transmitters and differential receivers. The differential transmitter (TDX) accepts one electrical input
and one mechanical input and produces one electrical output. The differential receiver (TDR) accepts two electrical inputs and produces one
mechanical output. a comparison of the TDX and TDR is shown in figure 1-18. The torque differential transmitter and the torque differential
receiver can be used to form a Differential SYNCHRO System. The system can consist either of a torque transmitter (TX), a torque differential
transmitter (TDX), and a torque receiver (TR), (TX-TDX-TR); or two torque transmitters (TXs) and one torque differential receiver (TDR), (TX-TDR-TX).
Before beginning a discussion of the systems using differentials, we need to provide a brief explanation on the newly introduced synchros, the
TDX and the TDR.

Figure 1-18. - Torque differentials.
Torque Differential Transmitter In the torque differential transmitter, BOTH the rotor and stator windings
consist of three Y- connected coils, as illustrated in view a of figure 1-19. The stator is normally the primary, and receives its input signal
from a synchro transmitter. The voltages appearing across the differential's rotor terminals (R1, R2, and R3) are determined by the magnetic
field produced by the stator currents, the physical positioning of the rotor, and the step-up turns ratio between the stator and the rotor.
The magnetic field, created by the stator currents, assumes an angle corresponding to that of the magnetic field in the transmitter supplying
the signal. The position of the rotor controls the amount of magnetic coupling that takes place between the stator magnetic field and the rotor,
and therefore, the amount of voltage induced into the rotor windings. If the rotor position changes in response to a mechanical input, then
the voltages induced into its windings also change. Therefore, the output voltage of the TDX varies as a result of either a change in the input
stator voltage or a change in the mechanical input to the rotor. This electrical output of the TDX may be either the SUM or the Difference of
the two inputs depending upon how the three units (the TX, the TDX, and the TR) are connected.
1-26

Figure 1-19A. - Torque differential transmitter.

Figure 1-19B. - Torque differential receiver.
Torque Differential Receiver The torque differential transmitter (TDX) and the torque differential receiver
(TDR) are ELECTRICALLY IDENTICAL. The only difference in their construction is that the receiver (TDR) has a damper, which serves the same purposes
as the damper in the TR - it prevents the rotor from oscillating. The real difference in the receiver lies in its application. It provides the
mechanical output for a differential synchro system usually as the sum or difference of two electrical inputs from synchro transmitters. As
in the case with the TDX, the TDR addition or subtraction function depends upon how the units in the system are connected. Basically,
the torque differential receiver operates like the electromagnets we discussed earlier in this chapter. In view B, the rotor and stator of the
torque differential receiver receive energizing currents from two torque transmitters. These currents produce two resultant magnetic fields,
one in the rotor and the other in the stator. Each magnetic field assumes an angle corresponding to that of the magnetic field in the transmitter
supplying the signal. It is the interaction of these two resultant magnetic fields that causes the rotor in the TDR to turn.
1-27
Q-30. What is the purpose of using differential synchros instead of regular synchros? Q-31.
What are the two types of differential synchros? Q-32. Other than their physical differences, what is the major difference
between a TDX and a TDR? Q-33. What determines whether a differential synchro adds or subtracts?
TX-TDX-TR System Operation (Subtraction) Now that you know how the individual units work, we can continue
our discussion with their application in different systems. The following sections explain how the TDX and TDR are used with other synchros
to add and subtract. To understand how a TDX subtracts one input from another, first consider the conditions in a TX- TDX-TR system
when all the rotors are on 0º, as in view a of figure 1-20. In this case, the TDX is on electrical zero and merely passes along the voltages
applied to its windings without any change. Therefore, the TX stator voltages are felt at the TDX rotor. With the system in perfect balance,
the TDX rotor voltages equal and oppose the TR stator voltages so that no current flows in the circuit. Since there is no current to produce
the torque required to move the TR rotor, the system will remain in this condition, thus solving the equation 0º - 0º = 0º.

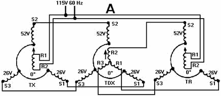
Figure 1-20A. - TX-TDX-TR system operation (subtraction).
1-28

Figure 1-20B. - TX-TDX-TR system operation (subtraction).

Figure 1-20C. - TX-TDX-TR system operation (subtraction).
1-29

Figure 1-20D. - TX-TDX-TR system operation (subtraction).
Up to this point, we have discussed the number of degrees a rotor is turned. Now, it is important to point out the labeling of synchro positions.
Labeling is necessary to determine the actual position of the synchro's rotor. Notice that synchro rotor positions are labeled from 0º, increasing
in a counterclockwise direction. It is common practice to refer to a synchro transmitter as being on 120º when its rotor is pointing toward
the S3 winding. Do not confuse these positions with the number of degrees a rotor is turned. Assume that a 240º input is applied
to the system, as indicated in view B, by turning the TX rotor to its 240º position. At this position maximum voltage is induced into the S1
winding of the TX and coupled to S1 of the TDX. Since the TDX rotor is on 0º, it passes this maximum voltage (via R1) along to the S1 winding
of the TR. The stator magnetic field in the receiver now lines up in the direction of the S1 winding and causes the rotor to turn counterclockwise
to the 240º position. This illustrates an important point: Whenever the TDX rotor is at 0º, the TR rotor follows the TX rotor exactly.
In the present case, the system has just solved the equation 240º - 0º = 240º. Before we go to another example, you need
to understand that when you subtract a higher value of degrees from a lower value of degrees, you add 360º to the lower value and subtract directly.
For example: 10º - 260º
Add 360º to lower value: 10º + 360º = 370º
Subtract: 370º - 260º = 110º
In the next example, hold the TX rotor on 0º and turn the TDX rotor to 120º, as illustrated in view C of figure 1-20. In this situation,
R1 of the TDX has maximum voltage induced in its winding since it is in line with S2. With R1 of the TDX connected to S1 of the TR, the TR stator
magnetic field lines up in the direction of S1 and causes the TR rotor to turn clockwise to the 240º position. Given, then, that the TX is on
360º (or the 0º position), and subtracting the 120º displacement of the TDX rotor, the difference is 240º. This is the position at which
the TR rotor comes to rest. Therefore, the system has solved the equation 360º - 120º = 240º. The actual subtraction operation of the
TDX is a little more apparent in the next example.
1-30
| - |
Matter, Energy,
and Direct Current |
| - |
Alternating Current and Transformers |
| - |
Circuit Protection, Control, and Measurement |
| - |
Electrical Conductors, Wiring Techniques,
and Schematic Reading |
| - |
Generators and Motors |
| - |
Electronic Emission, Tubes, and Power Supplies |
| - |
Solid-State Devices and Power Supplies |
| - |
Amplifiers |
| - |
Wave-Generation and Wave-Shaping Circuits |
| - |
Wave Propagation, Transmission Lines, and
Antennas |
| - |
Microwave Principles |
| - |
Modulation Principles |
| - |
Introduction to Number Systems and Logic Circuits |
| - |
- Introduction to Microelectronics |
| - |
Principles of Synchros, Servos, and Gyros |
| - |
Introduction to Test Equipment |
| - |
Radio-Frequency Communications Principles |
| - |
Radar Principles |
| - |
The Technician's Handbook, Master Glossary |
| - |
Test Methods and Practices |
| - |
Introduction to Digital Computers |
| - |
Magnetic Recording |
| - |
Introduction to Fiber Optics |
| Note: Navy Electricity and Electronics Training
Series (NEETS) content is U.S. Navy property in the public domain. |
|