|
May 1957 Radio & TV News
[Table
of Contents]
Wax nostalgic about and learn from the history of early
electronics. See articles from
Radio & Television News, published 1919-1959. All copyrights hereby
acknowledged.
|
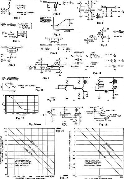
The big graphic with Figures
1 through 17 reminds me of the kinds of study sheets I used to make when cramming
for exams in my college circuits courses. Did I ever tell you about the
wise guy instructor I had for my first Circuits class at the
University of Vermont? Anyway, this article provides an introductory level treatment
of using negative feedback in amplifier circuits. Lots of illustration and formulas
are included. Frequencies are at baseband, so you won't learn any secrets for
high frequency amplifier stabilization, but then even RF and microwave circuits
eventually need to convert down to baseband at some point for sampling or for
use as audio or video.
Negative Feedback Transistor Amplifiers
By Hugh R. Lowry Manager, Application Engineering Semiconductor Products
Dept.
General Electric Co.
|

A view of the widely available General Electric 2N107 "p-n-p" junction
transistor showing the internal construction.
|
Complete design data for transistor negative feedback audio amplifiers with
high-fidelity characteristics.
Vacuum-tube audio amplifiers incorporating negative feedback have always
been a popular item with the electronic hobbyist since there is a wealth of
material in the literature giving design procedures and showing typical circuits
which can be modified if desired.
This situation is not true with transistor audio amplifiers because, until
recently, most of the engineering effort has gone into developing circuits that
will produce the maximum available gain from a transistor. This type of circuitry
gives unsatisfactory results from transistor audio amplifiers since the frequency
response tends to be limited, the distortion high, and the performance extremely
dependent on the characteristics of the individual transistor.
This article will describe how to design simple transistor negative feedback
audio amplifiers that have characteristics good enough for even the "golden
eared" group of audio enthusiasts. Before getting into actual circuits, however,
it would be best first to review briefly a few basic facts about transistor
circuits.
The first important point about transistors is that their input impedance
is quite low. As shown in Fig. 1, the input impedance is approximately
Zin = (1 + β)•hib ≈ (1 + β)•(30/Ie),
where β is the grounded-emitter current gain. Beta (β) is normally in the range
of 30 to 100 making the input impedance roughly 1000 to 3000 ohms. With such
a low input impedance, a transistor makes an excellent current adder. If two
signals are fed from a source impedance high in comparison to the input impedance,
the input current into the transistor will be essentially equal to the sum of
these two currents.
The second fundamental is the concept of a current divider as shown in Fig. 2.
If a current source is fed into a network consisting of an impedance Z1
and Z2, the output current will be equivalent to Z1/(Z1 + Z2).
An example of these two principles is the analysis of the low-frequency response
of the circuit shown in Fig. 3.
Here a transistor biased in the conventional manner is being fed from a transistor
amplifier with a 3900 ohm load resistance. The equivalent circuit for low frequency
may be approximated as shown on the right on Fig. 3. This equivalent circuit
consists of a current source which is feeding into the parallel combination
of a generator resistance and input impedance of the transistor. Since the input
impedance of a transistor is equal to (1 + β) times the impedance
of the emitter circuit, the emitter resistance must be multiplied by (1 + β)
and the bypass capacitor will be divided by (1 + β). The formula for
the transfer function is shown in Fig. 4 and it can be seen that if R(1 + β}
is much larger than the generator resistance, the low-frequency 3 db point is
determined only by the generator resistance, current gain, and the emitter bypass
capacitor. In other words, the emitter bypass capacitor is not bypassing the
emitter resistance, but is bypassing a resistance equal to the generator resistance
divided by 1 + β. Fig. 5 shows the calculated frequency response
of this circuit and it can be seen that even with a 25 μfd. bypass capacitor,
the low-frequency response is down 3 db at 150 cycles.
The third fundamental is the concept
of the gain of a servo type amplifier. This is shown in Fig. 6. Assuming
that the feedback network, denoted by H, does not load the circuit, the gain
is equivalent to G divided by 1 + GH. With loading included, the gain
is equal to

These fundamentals will now be applied to the problem of high-fidelity audio
amplifiers. To start off with, consider the case where a transistor is desired
as a linear amplifier to work into a conventional vacuum-tube amplifier. It
is also assumed that a variable reluctance pickup is to be used, that the supply
voltage is 50 volts, and also that the emitter bypass capacitor be eliminated
in order to obtain the best possible low-frequency response.
A circuit that would meet these specifications is shown in the diagram Fig. 7.
The biasing is done with a resistance from collector to base and with the
circuit shown, the collector-to-emitter bias voltage will be about 2.5 volts.
The items of interest would be the current gain, the voltage gain, and the input
resistance. If the circuit is analyzed as a servo-amplifier, assuming that the
feedback current and input current are added without interaction, the equivalent
circuit is shown in Fig. 8. The feedback factor will be equal to the load
resistance divided by the load resistance plus the feedback resistance. Putting
this into the formula of a servo-amplifier with loading, the current gain is
seen to be essentially the feedback resistance divided by the load resistance.
At this point, the readers who are familiar with transistor circuitry are probably
wondering how good these approximations are since, as is well known, a transistor
is a bi-lateral device, there will be a forward transmission through the feedback
loop as well as other considerations that must be included in an exact analysis.
The degree of approximation can be seen from a comparison of the input resistance
using the approximate and exact formulas as are shown in Fig. 10A.
The approximate input resistance is equal to the current gain plus one times
hib. Using this formula, the input resistance comes out 90 ohms.
The exact expression for input resistance for this type of circuit is given
in Shea's "Principles of Transistor Circuits" and is shown on the right hand
side of Fig. 10A. A numerical evaluation of this formula gives the input
impedance as 86.5 ohms as compared to 90 ohms from the approximate formula.
In order to obtain the correct high-frequency roll-off with a reluctance cartridge,
it should be loaded down with about 6200 ohms. Thus the circuit shown in Fig. 7
has 6,200 ohms in series with the signal and it is obvious that the difference
between 86.5 and 90 ohms is of little significance in the design of this amplifier.
The expression for voltage gain for this amplifier is shown in Fig. 10B
and is approximately equal to the feedback resistance divided by the input resistance
which in this case is about 16. One final point concerning this type of amplifier
is that a radio-frequency type transistor such as the G-E 2N168 should be used
because the output capacitance of a so-called p-n-p audio transistor is very
high and if an audio transistor were used with a 50,000 load resistance, the
high-frequency gain would begin to fall off at roughly 5000 to 10,000 cycles.
The simple amplifier, just described, is not suitable when followed by another
transistor amplifier. If the next stage is a transistor, the input impedance
of the following stage is very low and there would be essentially no a.c. feedback
in the amplifier. There will, of course, be d.c. feedback to stabilize the operating
point.
A configuration suitable for transistor amplifiers is shown in Fig. 9.
This circuit consists of two RC-coupled grounded emitter stages with negative
current feedback from the emitter of the second transistor to the base of the
first transistor. It is desirable to linearize the current gain with feedback
since the input (reluctance pick-up plus 6,200 ohms series resistance) is essentially
a current source. If the feedback capacitance is on the order of 5 μfd. the
frequency response will be flat down to 20 cycles. By using a small capacitor,
however, it is possible to effectively decrease the feedback at low frequencies
and produce a bass boost. To compensate for the RIAA recording characteristics,
the response of the preamplifier should have a 500-cycle turnover frequency
with the response leveling out again near 50 cycles.
Using the servo-amplifier analogy, an analysis of the configuration of Fig. 9
yields the expression of Fig. 11. The turnover frequency is determined
by the time constant of the feedback circuit and the low-frequency response
plateau is a function of the open loop current gain. The performance of an actual
circuit is shown in Fig. 12 and it can be seen that it is comparable to
conventional vacuum-tube circuits.
By adding a resistor in shunt with the capacitor, a more positive control
over the low-frequency plateau can be obtained. For example, for a 500-cycle
turnover frequency the impedance of the capacitor at 500 cycles should be equal
to R2. A 50-cycle low-frequency plateau is obtained if the resistor
shunting C is made equal to 9R2.
The biasing methods used in the amplifiers described thus far are suitable
for RC-coupled amplifiers where the collector voltage is considerably smaller
than the supply voltage. A problem arises, however, on the biasing of a driver
stage which is transformer-coupled to the output stage. With a transformer load
in the collector circuit, a biasing resistor from collector to base is no longer
d.c. degenerative since the d.c. resistance in the collector circuit is small.
One possible circuit for a small signal amplifier followed by a driver stage
is shown in Fig. 13A. This type of biasing will stabilize the collector
current of the driver stage, but a large bypass capacitor must be used for good
low-frequency response as explained earlier. A better type of circuit is shown
in Fig. 13B. The base of the driver stage is directly connected to the
collector of the preceding stage and the emitter current of the driver stage
is determined by the voltage at the base and the resistance in the emitter circuit.
For the circuit shown, the bias current in the driver stage would be 4 ma. The
biasing resistor to the base of the first stage is connected to the emitter
of the driver stage rather than to the collector of the first transistor. This
type of biasing by current feedback makes the bias points more stable than if
each transistor were biased separately as in Fig. 13A. The reduction in
the number of components by using direct coupling is also quite apparent. Perhaps
the most important advantage of the direct-coupled circuit of Fig. 13B
is that there are no capacitors to produce phase shift at low frequencies and
possible instability. With this direct-coupled circuit it is possible to add
another amplifier stage and use feedback around all three stages. A typical
circuit of this type is shown in Fig. 14. The resistor from the collector
of the driver stage to the base of the first stage makes the output voltage
proportional to the input current which is very desirable. It is not necessary
to use a d.c. blocking capacitor with the 5-megohm feedback resistance since
the d.c. flowing through the resistor will not appreciably affect the bias point.
If the driver transformer has a 5,000 ohm primary impedance, the overall
current gain of the amplifier will be 5 megohms/5,000 ohms or 1,000 as calculated
by the formula in Fig. 8. Depending on the frequency response of the transformer,
it may be necessary to add a capacitor from the collector of the last transistor
to ground in order to prevent high-frequency oscillations. High-frequency oscillations
occur because the high-frequency phase shift produced by three cascaded stages
is enough to make the feedback at high frequencies positive rather than negative
unless precautions are taken.
Class B Push-Pull Outputs

Fig. 21 & 22 - Two charts shown here indicate power
gains that are obtained with commonly used transistors at various power outputs
with a 12-volt supply. Chart at left is for class B push-pull amplifiers and
chart at right is for class A single-ended circuits. Note higher output powers
The design of driver and push-pull stages depends on the desired power output
so it is necessary to start with the final stage and work backwards. In the
majority of applications, the output power is specified so a design will usually
begin at this point. The circuit of a typical push-pull class B output stage
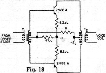
is shown by Fig. 18.
The voltage divider, consisting of re-sistor R and the 47-ohm resistor, gives
a slight forward bias on the transistors to prevent crossover distortion. Usually
about 1/10 of a volt is sufficient to prevent crossover distortion and, under
these conditions, the no-signal total collector current is about 3.0 ma. The
8.2 ohm resistors in the emitter leads stabilize the transistors so they will
not go into thermal runaway when the junction temperature rises to 60° C.
Typical collector characteristics with a load line are shown in Fig. 15.
It can be shown that the maximum a.c. output power without clipping using a
push-pull stage is given by the formula:

Since the load resistance is equal to and the collector-to-collector
impedance is four times the load resistance per collector, the output power
is given by the formula:
Thus, for a specified output power and supply voltage the collector-to-collector
load resistance can be determined. For output power on the order of 50 mw. to
750 mw., the load impedance is so low that it is essentially a short circuit
compared to the output impedance of the transistors. Thus, unlike small signal
amplifiers, no attempt is made to match the output impedance of transistors
in power output stages.
The power gain is given by the formula:

Since is equal to the current
gain, beta, for small load resistance, the power gain formula can be written
as:

where: Rc-c = collector-to-collector load resistance
Rb-b = base-to-base input resistance
β = grounded-emitter current gain
Since the load resistance is determined by the required maximum undistorted
output power, the power gain can be written in terms of the maximum output power
by combining equations (the previous equations) to give:

Class A Driver Stages
For a required output power of 250 mw., the typical gain for a push-pull
output stage would be on the order of 23 db. Thus the input power to the output
stage would be about 1 to 2 mw. The load resistance of a class A driver stage
is then determined by the power that must be furnished to the output stage and
this load resistance is given by the equation:

For output powers on the order of a few milliwatts, the load resistance is
not negligible in comparison to the output impedance of the transistors, therefore,
more exact equations must be used to determine the power gain of a class A driver
stage. From four- terminal network theory, after making appropriate approximations,
it can be shown that the voltage gain is given by the formula:

where: hib = grounded base input impedance.
The current gain is given by the formula:

where: hob = grounded base output admittance
The power gain is the product of the current gain and the voltage gain, thus
unlike the formula for high power output stages, there is no simple relationship
between required output power and power gain for a class A driver amplifier.
Design Charts
Figs. 16, 17, 21, and 22 are design charts for determination of transformer
impedances and typical power gains for class A driver stages and class B push-pull
stages. Their use can be best understood by working through a typical example.
It will be assumed that it is desired to design a driver and push-pull amplifier
capable of delivering 1 watt with a 12-volt supply. Using Fig. 16, for
1 watt of undistorted output power, the required collector-to-collector load
resistance is 200 ohms. From Fig. 21 using a typical 2N187A, the power
gain is 20 db. In numerical terms, a power gain of 20 db is 100. Therefore,
the required input power to the driver stage would be: Pin = 1000/100
or 10 mw. From Fig. 17, for 10 mw. of undistorted output power, the load
resistance is over 5000 ohms. From Fig. 22, assuming a 2N191 driver transistor,
the power gain is 38 db. The typical power gain of the two stages using a 2N191
driver and 2N187's in the output would be 58 db. The secondary impedance of
the driving transformer should be 3000 ohms center-tapped. The secondary impedance
of the output transformer should be selected to match the impedance of the load.
A necessity for any hi-fi system is a set of tone controls to compensate
for room acoustics, loudspeaker differences, listening level, and individual
preferences. One acceptable circuit has been described in the literature1,2
and is shown in Fig. 19. The detailed operation is described in the reference
but briefly at 1 kc. the incoming current divides so 10/11th is shunted to ground
and 1/11th goes on to the next stage. The low- and high-frequency response depends
on the potentiometer settings and can be analyzed on a current transfer basis.
With the component values indicated, the performance of the tone controls is
shown in Fig. 20. This performance is quite comparable to tone controls
used with vacuum tubes.
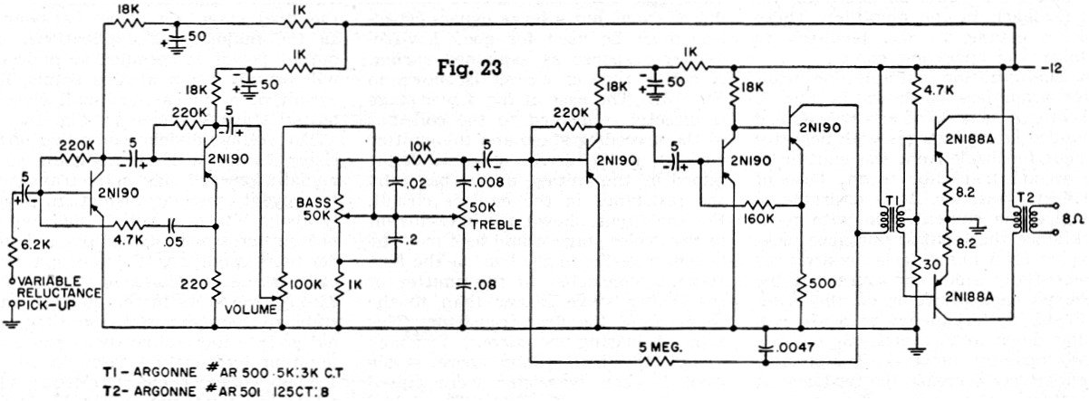
A circuit incorporating all design procedures herein described is shown in
Fig. 23. This amplifier will produce more than enough undistorted output
power for average listening levels in the home.

It can be seen that incorporating negative feedback in transistor amplifiers
is quite simple with the main difference between transistor and tube circuits
being that current feedback is used with transistors and voltage feedback with
tubes. The use of current feedback in transistor amplifiers requires very few
extra components and the performance advantages far outweigh the time taken
in design.
References
1. Lo, Endres, Zawels, Waldhauer and Cheng: "Transistor Electronics," Prentice-Hall.
2. Lowry, Hugh R.: "All Transistor Hi-Fi Amplifier," Radio & Television
News, November 1956.
Posted July 22, 2020 (updated from original post on 7/25/2015)
|