|
September 1939 QST
Table of Contents
Wax nostalgic about and learn from the history of early electronics. See articles
from
QST, published December 1915 - present (visit ARRL
for info). All copyrights hereby acknowledged.
|
When I see that mechanical drawing of an oscillator tank circuit, the cross-section of a
screw-on type automotive oil filter comes to mind. Ham radio operators who build
their own equipment have never shied away from tackling leading-edge, technically
challenging projects. Indeed, many Amateurs have pioneered radio circuit, antenna,
and propagation concepts that were later adopted by military and commercial concerns.
One of the first examples was the relegation of hitherto believed to be unimportant
shortwave frequency bands for amateur radio use. Quite unexpectedly, Hams quickly
took up the challenge and exploited the unique long range communications capabilities
possible due to atmospheric channeling and reflection phenomena. This 1939 QST magazine
article features coaxial resonant cavities used to construct high-Q oscillators.
While the title says "Ultra-High Frequencies," the highest frequency mentioned is
for 1¼ meters, that is around 240 MHz, which according to today's
spectrum assignments doesn't quite reach into the 300 MHz to 3 GHz realm where
UHF officially resides. The 1¼ meter through 5 meter bands are within VHF.
High-Q Tank Circuit for Ultra-High Frequencies

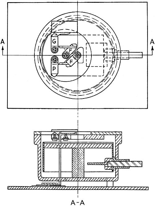
Fig. 1 - Sectional view of the tank circuit.
Designing U.H.F. Oscillators of High Stability
By Arnold Peterson*
The author covers the basic requirements for the construction of stable u.h.f.
oscillators, discloses the shortcomings of ordinary tank circuits, describes a different
type circuit - really a "tank" - especially designed for use with oscillators. The
new tank is admittedly more difficult to build, but the amateur who is handy with
tools will not find those difficulties insuperable. If you pretend to have even
a casual interest in the ultra-high frequencies you'll have to give this article
a careful reading.
The new regulations, which extend the requirements of frequency stability to
the 5- meter band, are prompting those amateurs who prefer to use the simplest possible
equipment to explore the possibilities of bands located still higher up in the frequency
spectrum. Fortunately, a sufficient background in the technique for the 2 1/2- and
1 1/4-meter bands has been developed by the early workers in the field so that new
arrivals can construct satisfactory apparatus for communication.
Recently some oscillators for these higher frequency bands were designed by the
author in accordance with the results of an investigation of oscillator frequency
stability at the ultra-high frequencies. This investigation was conducted as a part
of a cooperative research program of the General Radio Company and the Massachusetts
Institute of Technology. The oscillators include two for the 1 1/4-meter band, one
for 2 1/2 meters, and one for 5 meters. These particular ones have been built for
Mr. Henry S. Shaw, W1FGA, and since Mr. Shaw has found them useful for his amateur
work, other amateurs may obtain worthwhile information from a description of them.
However, because the mechanical details make difficult the construction of these
transmitters by the average amateur, this article is not intended to be a how-to-build-it
one, but rather a discussion of the reasons for certain particulars of the design
with the thought that those working at 2 1/2 and 1 1/4 meters may receive some helpful
ideas.
Oscillator Requirements

Fig. 2 (left) - 225-Mc. oscillator with closely-spaced half-wavelength
radiators. The aluminum cylindrical shield is approximately 5 1/2 inches high.
Fig. 3 (right) - A view of the 225-Mc. oscillator with the cylindrical
shield removed.

Fig. 4 - A simplified assembly drawing of the Hartley type
of 1 1/4-meter tank circuit. The W.E. 316A isolantite socket is shown with the filament
connections passing through the field of the inductance and with the grid terminal
by-passed to the top cover-plate. A cylindrical aluminum shield, which is not shown,
is used to complete the shielding around the tube.
In the amateur's search for suitable ultra-high-frequency generators, more and
more power seems to be the principal end in view. This goal is a natural one, but
higher power is not the only means to more reliable communication. In particular,
as many amateurs realize, the use of generators of high-frequency stability will
make that power more effective. This consideration may seem to be out of place,
since many are going to the higher frequencies to dodge the frequency stability
requirement; but a little reflection will show that it is advantageous for the amateur
to strive for reasonable frequency stability. For normal transmission with amplitude-modulated
signals, any accompanying spurious frequency modulation seems to have harmful effects
only. For instance, the usual modulated oscillators for operation at these frequencies
have such broad signals that even the moderate selectivity provided by a single
good tuned circuit in the receiver can introduce noticeable distortion by not passing
all of the frequency-modulated signal. Further, the relative signal-to-noise ratio
that can be obtained with the use of simple amplitude modulation decreases as the
band width required for the reception of the signal increases. Finally, the ease
with which the superheterodyne method of reception, with all its attendant advantages,
can be applied is directly dependent on the frequency stability of the signal sources.
Thus when these bands become more crowded, the stable signals will be more and more
appreciated, particularly because of the smaller interference they will cause. At
any rate one can see that any gain in frequency stability that can be made is to
be desired, especially if this improvement does not involve a noticeable sacrifice
in output.
To illustrate a method that can be used to achieve good oscillator frequency
stability, the basic construction of the tank circuit1 used here will
be described, and the reasons for the design adopted will be discussed.
Basic Tank Circuit
The basic type of tank circuit used in the oscillators to be described here is
shown in section in Fig. 1. This tank circuit is cylindrically symmetrical
about the center-line axis and consists of a large outer cylinder (A), capped at
both ends, with a slightly smaller inner cylinder (B) supported coaxially from one
of these ends by means of a central rod (C) and a connecting disc (D) from the rod
to the inner cylinder. Although in appearance it does not resemble the usual tuned
circuits, nevertheless, schematically it is nothing more than an inductance and
condenser connected in parallel. The capacitance is practically that formed between
the larger outer cylinder (A) and the smaller inner one (B) and the inductance is
practically that resulting from the flux surrounding the central rod (C).
Since the radial flow of current in the connecting discs (D and E) contributes
no appreciable inductance, the values of inductance and capacitance for structures
of this type can be calculated rather accurately by the standard coaxial line formulas:

where lL = effective length of inductance (cm.)
bL = inside diam. of outside tube (B) of inductance
aL = outside diam. of central rod (C) of inductance
lc = effective length of capacitance (cm.)
bc = inside diam. of outside tube (A)
ac = outside diam. of inside tube (B)
(If any dimension of the tank circuit exceeds about one-twentieth of the wavelength,
these formulas can not be applied.) The capacitance from the lower disc (D) to the
end cap (F) can usually be estimated with sufficient accuracy from the ordinary
parallel-plate capacitance formulas2 and then added to the capacitance
of the cylindrical condenser. These formulas and a consideration of the capacitance
loading of the oscillator tube will furnish the information needed in the design
for operation at a given frequency.
Design Considerations

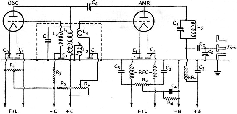
Fig. 5 - The schematic wiring diagram of the 5- and 2 1/2-meter
transmitters shown with the output arranged for connection to a coaxial line. The
dotted line encloses the schematic representation of the oscillator tank circuit.
By-pass condensers that were formed by metal strips separated from the grounded
metal chassis by mica sheets are represented by a short line directly above and
parallel to the ground plane. The amplifier "C" supply also furnishes plate power
for the oscillator. Hence the oscillator filament is not grounded for d.c.
R1, R2 - Filament center-tap resistors.
R3 - Oscillator grid leak, 10,000 ohms. R4 - Amplifier
cathode bias resistor, 300 ohms. R5, R6 - Voltage divider
for amplifier bias, 20,000 ohms, semi-variable. C1 - By-pass condensers,
described in text. C2 - Plate coupling condenser, 250-μμfd.
mica. C3 - Plate and filament by-pass condensers, 250-μμ4d.
mica. C4 - Amplifier cathode by-pass, 8-μfd. electrolytic.
C5 - Coupling adjustment, 100-μμfd. variable. C6
- Neutralizing condenser, 3-μμfd. C7 - Amplifier tuning condenser,
50-μμfd. L1C - Tank circuit shown in Fig. 1. L2
- Grid rod shown in Fig. 1. L3 - Frequency adjustment; see text.
L4 - Amplifier grid link; see text. L5 - Amplifier
plate coil, three turns No. 12, as shown in Fig. 10.

Fig. 6 - The 2 1/2-meter transmitter. From left to right,
the oscillator stage with the frequency control knob projecting up through the perforated
shield, the W.E. 304A amplifier tube, and the amplifier tuning condenser.

Fig. 7 - A rear view of the 2½-meter transmitter
with the oscillator shield removed. Here the coaxial output lead and the padding
condenser used for impedance matching can be seen at the left on the aluminum base
plate.
The fundamental reason for the use of a structure of this type is to obtain a
tuned circuit that has low losses and whose elements are relatively fixed by reason
of excellent mechanical stability. However, the mere use of this structure is not
sufficient to ensure that a stable oscillator will result. For this purpose one
must arrange that the energizing vacuum tube be connected to the tank circuit in
such a manner that variations in the tube's characteristics have as small an effect
as possible on the frequency of oscillation. A consideration of the factors that
produce instability in oscillators will show how this arrangement can be achieved.
At the ultra-high frequencies probably the most important of the factors that
produce frequency modulation when the oscillator is amplitude-modulated is the variation
of the effective interelectrode capacitances with electrode voltage. In order to
reduce the effect of this variation to the smallest value practical, one has recourse
to the standard amateur practice of using a hi-Q (high capacity) tank circuit for
the oscillator. An equivalent procedure is the use of a low-loss tank circuit and
coupling so loosely to it that changes in the tube will not affect the resonant
frequency too seriously. This procedure must be followed when resonant lines are
used for the tank circuit if one desires to take full advantage of the low losses
of these circuits for obtaining frequency stability. A similar method should be
used for low-capacity low-loss circuits of all types. However, by using a hi-Q tank
circuit, one obtains the advantage of a smaller physical size, and, at the same
time, parasitic oscillations are usually not so troublesome when it is possible
to connect directly across the main elements of the tuned circuit as opposed to
coupling loosely to the stabilizing circuit.
But an attempt to use a hi-Q circuit for the oscillator quickly leads to considerable
difficulties in producing oscillations at these high frequencies. Generally this
difficulty is a result of using components of standard construction, which often
have relatively high losses. That these losses are more detrimental for hi-Q circuits
than for low-C circuits can be seen by the following line of reasoning. The developed
impedance of the tank circuit at the operating frequency must be high enough to
prevent the tank circuit from loading up the vacuum tube beyond the point at which
oscillations can be maintained. For a given loss in the circuit the larger the capacitance
used, the smaller is this developed impedance. Then to develop a high impedance
with a hi-Q circuit one must have a low-loss circuit.
To keep the overall losses of the tank circuit small, probably the best procedure
is to design the tank circuit as an integral whole. If each component is constructed
individually, the advantages gained by an efficient design of both the condenser
and the inductance may be lost because of the manner in which the two are connected
together. In the tank circuit of Fig. 1 the connections from the main capacitance
to the inductance have been made an inherent part of the structure, and in that
way the extra loss introduced can be made relatively small.
The fundamental attitude that is taken in designing these low reactance (hi-Q)
circuits is the minimization of resistance and of inductance rather than the minimization
of capacitance. In order to do this successfully one must have in mind the essential
nature of inductance and the behavior of current flow when skin effect is complete.
Fortunately a simplified account of this behavior is all that is necessary for obtaining
qualitative design methods.
It is well known that at high frequencies the current tends to concentrate near
the surface of conductors. In fact this tendency is so marked at the ultra-high
frequencies for metallic conductors that for most practical purposes one can consider
the current as flowing only in a very thin skin layer at the surface without any
appreciable penetration of the current into the metal. This phenomenon is commonly
known as skin effect.
The limited depth of current penetration implies that for the current in a conductor
to go from one point to another it must travel on the surface only and cannot travel
by way of the interior of the conductor. To illustrate what this means, consider
current flow down the rotor of a variable condenser of normal construction. If contact
is made to the shaft bearings, current may flow through this contact along the surface
of the shaft until it comes to the first rotor plate. Here one normally considers
that the main body of the conduction current travels through the plate while some
of it flows as capacitive current to the first stator plate. However, if the plate
is of reasonable thickness (say, greater than 0.001"), at the ultra-high frequencies
the current will flow out radially at the surface of the rotor plate, pass over
at the edge of the plate to the other side of the rotor plate, and then travel inward
radially to the rotor shaft. In doing so of course a fraction of the cur-rent flows
capacitively to the second stator plate, but the rest continues merrily on its way
just skimming the surface. That is, it travels along the surface of the shaft, then
expands outwardly along the surface of the plates across the edge and back in again
and so on.
Thus at high frequencies the current does not take advantage of the total area
of the conductor, and it also ignores paths that require penetration through the
interior of the conductor. The corresponding effective resistance of the conductor
is therefore enormously increased. These considerations indicate that the small-diameter
condenser shaft in the preceding illustration produces a series of bottlenecks for
current flow and suggest the disadvantages resulting from forcing the current to
flow over paths of small surface area.
For the inductance of the tank circuit, one has the specific problem of designing
for a particular value of inductance with the purpose of obtaining that value with
the lowest losses possible. Fortunately certain relations that have been worked
out for the realization of hi-Q inductances can be used here. The one that is of
particular interest is that for an inductance formed by a circular rod and a surrounding
tube connected to it at one end by a conducting disc. For this case the desirable
relation of dimensions is that the outside tube should have a diameter of about
3 to 4 times the diameter of the center rod. Incidentally, a similar relation exists
for simple single-loop inductances, in that the spacing of conductors (diameter
of the loop) should be about 3 to 6 times the diameter of the conductor. However,
for an open loop of this type where radiation is a serious factor the overall dimensions
should be limited to less than about one-twentieth of a wavelength, while the coaxial
inductance mentioned above is not so quickly limited. As one might expect, the Q
of the coaxial inductance increases as the diameter of the tube and rod are increased,
but too large a diameter leads to a system that can no longer be considered as a
lumped inductance.
In considering a design for its inherent inductance one should remember that
decreasing the spacing, decreasing the length, or increasing the cross-section of
conductors will decrease the inductance. Thus, for those conductors that need to
have very low inductance only short, heavy leads that are relatively close to the
corresponding return conductor should be used.
* General Radio Co., 30 State St., Cambridge, Mass.
1 Peterson, Arnold, "An Ultra-High-Frequency Oscillator," General Radio Experimenter,
XII, 5 (October 1947).
2 See for instance: The American Radio Relay League, The Radio Amateur's Handbook
(15th ed.), p. 43.
Posted November 10, 2022 (updated from original
post on 6/12/2016)
|